清潔之后,連接器仍不合格?試試FI-7000
清潔之后,連接器仍不合格?
我們都知道臟污的光纖連接器端面會導致損耗和反射,所以在進行最終連接之前需要對其進行清潔和檢查。但是,如果您已經正確清潔,并檢查了光纖端面的污染情況,使用FI-7000 FiberInspector Pro對其進行了測試,但連接器仍然不合格,為什么會這樣?
或許是您的連接器端面不符合端面幾何參數要求。
當光纖端面的幾何形狀不符合參數要求時,對接時會出現間隙或錯位,從而導致光損耗過高。例如,行業標準中規定的光纖端面重要的幾何參數之一是光纖凸出高度——纖芯從套圈表面延伸出來的高度。如果高度過高,則對接時可能損壞光纖,并且當光纖插入套圈太深時,會出現間隙,導致插入損耗增加。
對于多芯MPO,光纖高度參數則更為復雜,因為有多根光纖。MPO中的每根光纖不僅必須滿足光纖凸出高度參數要求,并且陣列中的所有光纖之間以及任意兩根相鄰光纖之間也存在最大光纖高度差參數要求。換句話說,陣列中最低和最高光纖之間以及任意兩根相鄰光纖之間存在最大高度差,IEC PAS 61755-3-31規定上述差值應分別小于500納米(nm)和300納米(nm)。
對于MPO連接器來說,光纖高度差非常重要,因為如果陣列中的1根光纖太短,則該光纖對接時可能由于出現間隙而導致出現插入損耗。當考慮安裝使用8根光纖進行傳輸的40和100GBASE-SR4應用,以及具有非常嚴格的插入損耗要求時,您肯定希望避免出現上述這種間隙。
接觸和對準必不可少
還有其他的端面幾何參數也會影響性能。端面表面的曲率半徑或整體圓度也很重要。如果曲率過低,則接觸面較小,這不僅會影響性能,還會增加玻璃變形的風險。
確切地說,如果想在對接時實現優異的芯對芯連接,則還需要端面的球面頂端或頂點越居中越好。如果頂點出現偏移,則根本無法進行良好連接。
同樣,對于MPO來說,還有更多需要擔心的地方。每根光纖在水平和垂直軸上的拋光角度也必須一致,以便在對接連接器時正確對準。
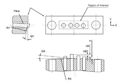
上述IEC PAS 61755-3-31中的圖形顯示了MPO的四個主要端面幾何參數(為清楚起見,顯示4根光纖)——水平軸(RX和GX)的拋光角度、垂直軸(RY和GY)的拋光角度、光纖凸出高度(H)、所有光纖的最大光纖高度差(HA)和最大相鄰光纖高度差(HB)。可以想見,對于更大的多光纖陣列(例如24芯MPO),這些參數將變得更加難以滿足。
明智選擇,遠離擔憂
好消息是,業內知名的制造商可確保所有單工、雙工和MPO連接器均符合端面幾何參數要求,因此您通常無需擔心端面幾何形狀問題。但是您仍然需要對其進行清潔和檢查——任何高質量的端面都可能被污染!
但是,需要注意陌生來源的便宜光纖連接——無論您如何清潔光纖連接器?,如果其不符合端面幾何參數要求,您都無法獲得所需性能。
FI-7000鏈接:http://www.whjsdny.com/archives/fluke-fi-7000.html
本文關鍵字: FI-7000, 光纖清潔
原創標題:清潔之后,連接器仍不合格?試試FI-7000
原文鏈接:http://www.whjsdny.com/archives/fi7000-clean.html
版權說明:本文為深圳市連訊達電子技術開發有限公司官網(www.whjsdny.com)版權所有。如果您需要轉載,請注明出處并保留原文鏈接!如為轉載文章會注明文章出處,轉載文章不代表本公司觀點。對于某些同行無恥惡意抄襲剽竊連訊客戶案例的違法行為,連訊將追究法律責任!
詳情請致電連訊公司:0755-83999818





新一代中文手持式測試儀 – 省時省力。
新一代中文手持式測試儀 – 省時省力。
新一代手持式網絡分析儀 – 省時省力。
新一代快速OTDR測試儀 – 省時省力。
